计算机硬件连线固定装置
注:上述费用仅包含专利权利转让费用,不包含专利年费或因年费未及时缴纳产生的滞纳金、恢复费。专利年费是专利权人依照专利法规定,自被授予专利权的当年开始,在专利权有效期内逐年应向专利局缴纳的费用。由于出售的专利类型、专利年限以及专利权人是否满足国家费用减缓的条件均会影响具体年费金额,需根据购买专利的实际情况进行缴纳。缴纳年费以及滞纳金、恢复费需单独和平台顾问确认且不属于下单后加价行为,故无法适用保障。
专利申请号:
CN201711478253.X
专利类型:
发明专利
技术分类:
G06F1/16
专利有效期:
2037-12-29
友情提示:该资源未保障“真” “价”,付款前请核实资源真实性与价格。
在线咨询
增值服务:

- 该资源已获得保障和赔付:
- 转让不成功退款退
- 转让超期必赔时
- 该资源未获得保障和赔付:
- 资源不保真必赔真
- 下单后加价必赔价
专利信息
专利名称:计算机硬件连线固定装置
商品编号:4818117
复制
申请日期:2017-12-29
公开/公告号:CN108415508A
授权公告日/公开日:2018-08-17
申请/专利权人:
嵊州***公司
发明/设计人:
李**
主分类号:G06F1/16
IPC分类号:G06F1/16
说明书摘要免费下载摘要
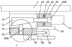
计算机硬件连线固定装置,从动轴上安装有凸轮,所述安装板上转动连接有摆杆,摆杆的自由端转动连接有连杆,凸轮侧面与摆杆和连杆的转动连接处接触,摆杆的自由端连接有弧形杆,弧形杆的右端连接有横杆,安装板上可转动连接有调节杆,调节杆的自由端端部与弧形杆接触,横杆背离弧形杆的一端连接有夹持机构;固定板背离安装板的一侧设有夹持块,夹持块设有夹持槽,夹持槽内插有夹持销,横杆向右运动带动楔形块进而带动夹持销向背离安装板的方向移动,夹持销、挡块配合对通过夹持槽内的竖向导线进行固定。对电线的固定和拆卸十分的方便便捷,具有良好的通用性,同时能够防止计算机连线被夹持损坏,能够多次循环使用。
转让流程

提出需求
提出您的专利需求
顾问一对一服务
顾问一对一服务

顾问匹配
顾问匹配资源库
快速确定优质专利
快速确定优质专利

签订合同
签订专利转让协议
成功付款
成功付款

递交申请
准备转让资料
国知局审查办理
国知局审查办理

领取证书
获得专利权,投入使用
所需资料
买方提供资料

个人身份证

公司或个体营业执照
购买后获得证书

专利证书

专利登记簿副本

手续合格通知书
平台优势
常见问题
购买专利需要什么资料?
计算机硬件连线固定装置专利,专利类型:发明授权,技术分类是:G06F1/16,购买计算机硬件连线固定装置专利,需要申请人和发明人的基础信息,还需提供计算机硬件连线固定装置专利的详细信息。
专利交易转让时间是多久?
专利权转让期限一般是2~6个月的时间获得专利转让通知书,在转让之前双方需要签订转让合同即可,计算机硬件连线固定装置专利具体的操作步骤,可以联系八戒数字交易的客服一对一服务。
相似专利
换一换








