一种大气粉尘监测用显示设备
注:上述费用仅包含专利权利转让费用,不包含专利年费或因年费未及时缴纳产生的滞纳金、恢复费。专利年费是专利权人依照专利法规定,自被授予专利权的当年开始,在专利权有效期内逐年应向专利局缴纳的费用。由于出售的专利类型、专利年限以及专利权人是否满足国家费用减缓的条件均会影响具体年费金额,需根据购买专利的实际情况进行缴纳。缴纳年费以及滞纳金、恢复费需单独和平台顾问确认且不属于下单后加价行为,故无法适用保障。
专利申请号:
CN202120369395.8
专利类型:
实用新型
技术分类:
G01N15/06
专利有效期:
2031-02-08
友情提示:该资源未保障“真” “价”,付款前请核实资源真实性与价格。
在线咨询
增值服务:

- 该资源已获得保障和赔付:
- 转让不成功退款退
- 转让超期必赔时
- 该资源未获得保障和赔付:
- 资源不保真必赔真
- 下单后加价必赔价
专利信息
专利名称:一种大气粉尘监测用显示设备
商品编号:4861470
复制
申请日期:2021-02-08
公开/公告号:CN214310050U
授权公告日/公开日:2021-09-28
申请/专利权人:
陈**
发明/设计人:
雷*
主分类号:G01N15/06
IPC分类号:G01N15/06;H05K7/20
说明书摘要免费下载摘要
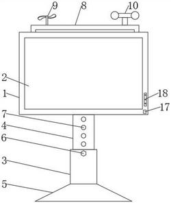
本实用新型公开了一种大气粉尘监测用显示设备,包括框架,所述框架的内部设置有显示屏,所述框架的下端设置移动杆,所述移动杆的下端设置有固定杆,所述固定杆的下端设置有固定座,所述框架的上端设置有固定架,所述框架的内部设置有散热管道。本实用新型所述的一种大气粉尘监测用显示设备,属于显示设备技术领域,通过设置的密封橡胶垫结构,提高了显示屏的防水性能;通过设置的固定螺栓与螺纹连接孔的连接结构,调节移动杆到合适的位置,固定螺栓穿过合适的螺纹连接孔并拧紧,从而调节显示设备的高度;通过设置的散热管道与散热风扇的散热结构,能够对显示屏进行良好的降温散热。
转让流程

提出需求
提出您的专利需求
顾问一对一服务
顾问一对一服务

顾问匹配
顾问匹配资源库
快速确定优质专利
快速确定优质专利

签订合同
签订专利转让协议
成功付款
成功付款

递交申请
准备转让资料
国知局审查办理
国知局审查办理

领取证书
获得专利权,投入使用
所需资料
买方提供资料

个人身份证

公司或个体营业执照
购买后获得证书

专利证书

专利登记簿副本

手续合格通知书
平台优势
常见问题
购买专利需要什么资料?
一种大气粉尘监测用显示设备专利,专利类型:实用新型,技术分类是:G01N15/06,购买一种大气粉尘监测用显示设备专利,需要申请人和发明人的基础信息,还需提供一种大气粉尘监测用显示设备专利的详细信息。
专利交易转让时间是多久?
专利权转让期限一般是2~6个月的时间获得专利转让通知书,在转让之前双方需要签订转让合同即可,一种大气粉尘监测用显示设备专利具体的操作步骤,可以联系八戒数字交易的客服一对一服务。
相似专利
换一换








