一种零排放的再生塑料造粒机
注:上述费用仅包含专利权利转让费用,不包含专利年费或因年费未及时缴纳产生的滞纳金、恢复费。专利年费是专利权人依照专利法规定,自被授予专利权的当年开始,在专利权有效期内逐年应向专利局缴纳的费用。由于出售的专利类型、专利年限以及专利权人是否满足国家费用减缓的条件均会影响具体年费金额,需根据购买专利的实际情况进行缴纳。缴纳年费以及滞纳金、恢复费需单独和平台顾问确认且不属于下单后加价行为,故无法适用保障。
专利申请号:
CN202021993707.4
专利类型:
实用新型
技术分类:
B29B9/06
专利有效期:
2030-09-14
友情提示:该资源未保障“真” “价”,付款前请核实资源真实性与价格。
在线咨询
增值服务:

- 该资源已获得保障和赔付:
- 转让不成功退款退
- 转让超期必赔时
- 该资源未获得保障和赔付:
- 资源不保真必赔真
- 下单后加价必赔价
专利信息
专利名称:一种零排放的再生塑料造粒机
商品编号:4878188
复制
申请日期:2020-09-14
公开/公告号:CN214383217U
授权公告日/公开日:2021-10-12
申请/专利权人:
罗**
发明/设计人:
罗**
主分类号:B29B9/06
IPC分类号:B29B9/06;B01D53/04
说明书摘要免费下载摘要
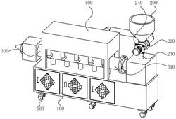
本实用新型公开了一种零排放的再生塑料造粒机,涉及零排放造粒机技术领域。本实用新型包括加热装置、进料装置、造粒装置、吸附装置以及,加热装置包括加热箱以及温控箱,加热箱一端与温控箱一侧表面连接,进料装置安装于温控箱上表面,造粒装置包括可再生造粒管、连接法兰以及第二连接管,可再生造粒管一端与第二连接管一端通过连接法兰两端连接,第二连接管另一端与进料箱一侧表面连接,吸附装置安装于加热箱上表面。本实用新型通过可再生造粒管可实现塑料造粒的可再生,达到了节能环保的目的,通过活性炭吸附箱与第二排气管连接,可将造粒过程中产生的有毒气体吸附在活性炭吸附箱内,达到了污染物零排放的目的。
转让流程

提出需求
提出您的专利需求
顾问一对一服务
顾问一对一服务

顾问匹配
顾问匹配资源库
快速确定优质专利
快速确定优质专利

签订合同
签订专利转让协议
成功付款
成功付款

递交申请
准备转让资料
国知局审查办理
国知局审查办理

领取证书
获得专利权,投入使用
所需资料
买方提供资料

个人身份证

公司或个体营业执照
购买后获得证书

专利证书

专利登记簿副本

手续合格通知书
平台优势
常见问题
购买专利需要什么资料?
一种零排放的再生塑料造粒机专利,专利类型:实用新型,技术分类是:B29B9/06,购买一种零排放的再生塑料造粒机专利,需要申请人和发明人的基础信息,还需提供一种零排放的再生塑料造粒机专利的详细信息。
专利交易转让时间是多久?
专利权转让期限一般是2~6个月的时间获得专利转让通知书,在转让之前双方需要签订转让合同即可,一种零排放的再生塑料造粒机专利具体的操作步骤,可以联系八戒数字交易的客服一对一服务。
相似专利
换一换








