基于气球形光纤干涉仪的角度传感系统及其测量方法
注:上述费用仅包含专利权利转让费用,不包含专利年费或因年费未及时缴纳产生的滞纳金、恢复费。专利年费是专利权人依照专利法规定,自被授予专利权的当年开始,在专利权有效期内逐年应向专利局缴纳的费用。由于出售的专利类型、专利年限以及专利权人是否满足国家费用减缓的条件均会影响具体年费金额,需根据购买专利的实际情况进行缴纳。缴纳年费以及滞纳金、恢复费需单独和平台顾问确认且不属于下单后加价行为,故无法适用保障。
专利申请号:
CN202210104715.6
专利类型:
发明专利
技术分类:
G01B11/26(2006.01)I
专利有效期:
2042-01-28
友情提示:该资源未保障“真” “价”,付款前请核实资源真实性与价格。
在线咨询

- 该资源已获得保障和赔付:
- 转让不成功退款退
- 转让超期必赔时
- 该资源未获得保障和赔付:
- 资源不保真必赔真
- 下单后加价必赔价
专利信息
专利名称:基于气球形光纤干涉仪的角度传感系统及其测量方法
商品编号:5807135
复制
申请日期:2022-01-28
公开/公告号:CN114485485A
授权公告日/公开日:2022-05-13
申请/专利权人:
南京***大学
发明/设计人:
王**
主分类号:G01B11/26(2006.01)I
IPC分类号:G01B11/26;G01B9/02
说明书摘要免费下载摘要
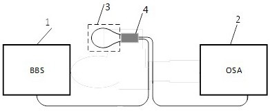
本发明涉及光纤传感技术领域,包括单模光纤、毛细管和角度测量装置,单模光纤通过弯曲构成气球形结构的传感回路,传感回路的输入端和输出端均内置在毛细管中,传感回路的输入端与宽带光源连接,传感回路的输出端与光谱分析仪连接,角度测量装置包括角度尺和转动臂,角度尺水平设置,转动臂的转动轴位于角度尺0刻度的外侧,角度尺的上设有传感回路,传感回路位于0刻度处,传感回路的平面与角度尺的0刻度线相对齐,其顶面面向0刻度方向,转动臂延伸至传感回路的侧面,转动臂挤压传感回路使其发生角度偏转,本发明利用光纤弯曲为气球形结构的特性实现对角度传感的同时也增加了角度传感器的稳定性、传感范围和传感灵敏度。
转让流程

提出需求
提出您的专利需求
顾问一对一服务
顾问一对一服务

顾问匹配
顾问匹配资源库
快速确定优质专利
快速确定优质专利

签订合同
签订专利转让协议
成功付款
成功付款

递交申请
准备转让资料
国知局审查办理
国知局审查办理

领取证书
获得专利权,投入使用
所需资料
买方提供资料

个人身份证

公司或个体营业执照
购买后获得证书

专利证书

专利登记簿副本

手续合格通知书
平台优势
常见问题
购买专利需要什么资料?
基于气球形光纤干涉仪的角度传感系统及其测量方法专利,专利类型:发明授权,技术分类是:G01B11/26(2006.01)I,购买基于气球形光纤干涉仪的角度传感系统及其测量方法专利,需要申请人和发明人的基础信息,还需提供基于气球形光纤干涉仪的角度传感系统及其测量方法专利的详细信息。
专利交易转让时间是多久?
专利权转让期限一般是2~6个月的时间获得专利转让通知书,在转让之前双方需要签订转让合同即可,基于气球形光纤干涉仪的角度传感系统及其测量方法专利具体的操作步骤,可以联系八戒数字交易的客服一对一服务。
相似专利
换一换








